NYLON FAN COVER INT.D.150/INT.H.70

CODICE FAET
3309807
DESCRIZIONE
NYLON FAN COVER INT.D.150/INT.H.70
GRANDEZZA MOTORE
MEC 80
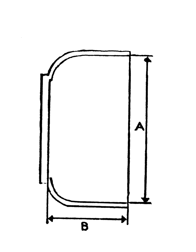
A
150
B
70
PREZZO AL PZ.
2,90